亲爱的客户:
您可以在此下载依拉勃所有的产品目录,我们将定期更新以便您获得最新的信息。如有其它请求,请发邮件至sales.china@erlab.com.cn或致电400-666-5781,感谢您的支持!
依拉勃中国
资料下载:
我要搜索
-
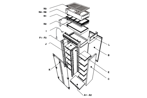
依拉勃净气型智能储药柜安全、智能存储危化品
24h持续净化柜内和实验室内空气污染。满足实验室各类化学试剂、标准品、危废等物料的专业安全管理需求,实现实验室化学品申购、入库、审批、领用、归还全生命周期精细化管理。
列表下载


























